KR6 and KR7 Knit Contour
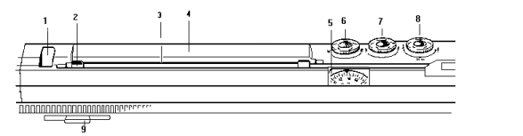
Names And Illustrations Of The Parts Of The Knit Contour
Basic operation of both units is similar. The KR-7 is wider than the KR-6, and it has the capability to knit at both half and full scale.

KR 6 Knit Contour
1. Pattern Paper Lever. Pull towards you and the pattern paper is released and moves freely.
2. Stitch Scale Clip. Insert the stitch scale with the same number as measured on the Tension Swatch.
3. Pattern Paper Holder
4. Paper slot. Insert a Paper Pattern.
5. Row Number Window
6. Row Number Dial. Select the row number to correspond with the number of rows measured on the Tension Swatch.
7. Feeding Dial. Move the pattern paper backwards and forwards manually with this dial.
7. Select Lever. Select the position according to the scale of the pattern.
Half Scale Pattern–1/2
Full Scale pattern–1/1
8. Change Lever
9.Feed Lever

KR 7 Knit Contour
1. Pattern Paper Lever. Pull towards you and the pattern paper is released and moves freely.
2. Stitch Scale Clip. Insert the stitch scale with the same number as measured on the Tension Swatch.
3. Pattern Paper Slot. Insert a Pattern Paper.
4. Row Number Scale. Indicates the number of rows measured over the Tension Swatch.
5. Row Number Dial. Select the row number to correspond with the number of rows measured on the Tension Swatch.
6. Feeding Dial. Move the pattern paper backwards and forwards manually with this dial.
7. Select Lever. Select the position according to the scale of the pattern.
Half Scale Pattern–1/2.
Full Scale pattern–1/1.
8. Change Dial. Select the position of 30–60, or 61–120 according to the row reading from the Tension Swatch

Setting Up The Knit Contour
In order for the Knit Contour unit to work properly, it is necessary to know the exact number of stitches and rows in 10 cm. Make and measure a tension swatch, exactly as in the instructions on pages 2-4, with the yarn that will be used in the garment. Determine the sts per 10 cm with the colored ruler; make a note of this number. Determine the rows per 10 cm, and make a note of this number. A set of Stitch Scales is included with the Knit Contour. For the KR-6 model, select the stitch scales which have the “0” at the left edge. For both models, select the Stitch Scale with the same number as the sts per 10 cm measurement, taken from the Tension Swatch. For KR-7 model only, be sure that the Selector Lever (“A” on the diagram) is set to 1/2 for knitting in half scale.

Insert the correct Stitch Scale into the Stitch Scale Clip, “B” on the diagram. Be sure that the scale actually goes under the clips. For the KR-7 model, line up the center 0 on the scale with the center mark on the Knit Contour (Poin t “C”).

Set the Change Dial to ◄ when changing the row number. The Change Dial acts like the clutch in your car when you change gears. Inside the Knit Contour are little wheels with teeth all around the edges that mesh with each other. Turning off the Change Dial allows these wheels to turn freely, without jamming or breaking the teeth.

Turn the Row Number Dial until the number in the window is the same as the rows per 10 cm number from the Tension Swatch. This number in the window must line up with the red pointer.
When the row number is less than 60, set the Change Dial to 30–60. Read the top set of numbers in the window. When the row number is more than 60, set the Change Dial to 61–120. Read the bottom set of numbers in the window. When the row number is less than 30, each model has a different method. For the KR-6, attach the Auxiliary Feeding Cam on the left side of the carriage. See your knitting manual for specific directions. This causes the pattern paper to advance twice each time the carriage passes across. For the KR-7, select the number which is twice what was read from the Tension Swatch. If the Tension Swatch reads 23, select 46 for the window number, then set the select lever to 1/1. Don’t forget to change the Select Lever back to 1/2 after completing this garment, however, or your next garment will be only half as long as it should be!
If one of my students calls saying there is something wrong with the Knit Contour, the very first thing I ask her to check is the Select Lever setting. There have been cases where the lever was accidentally changed to the 1/1 setting, without the knitter being aware of it. Panic! She doesn’t know what’s wrong–only that the garment is much too short.
There are a few basic techniques you must already know how to do before attempting to make shaped garments. These are increasing and decreasing a single stitch at the sides, increasing and decreasing multiple stitches by casting on and binding off, and increasing and decreasing by the partial knit (short row) method. Please refer to your manual if you need to learn these techniques.
This completes the introduction to the mechanical Knit Contour Unit. You are ready to go on to learning how to read the Knit Contour patterns, found in the Let’s Knit section on the Reading Knit Contour Patterns Page.
This tutorial was copyrighted and uploaded to the original Clearwater Knits website in 1997. It was updated in 2017.
